.
HET ENGE SAMENLEVINGSPATROON
Geld zonder waarde
De volksverhuizing veranderde het eens zo rustige Europa in een chaos. Het West-Romeinse rijk was ten val gebracht en de Frankische koningen zouden nog een paar eeuwen lang de ene oorlog na de andere voeren. Het gevolg van die oorlogen was, dat de Romeinse beschaving ten onder ging in de wanorde.
Eerst onder Karel de Grote, rond achthonderd na Chr., zou de rust weerkeren. De klok leek een paar eeuwen te zijn teruggedraaid. Steden waren vervallen of verdwenen geheel. Bovendien betaalde men weer in natura. Geld diende niet meer als betaalmiddel, maar als sieraad. In Europa bedreef men weer uitsluitend ruilhandel.
De feodale maatschappij
Aan het begin van de middeleeuwen leefden arm en rijk in strikt gescheiden groepen. Wie grond bezat en over mensen beschikte, was rijk. Een grondbezitter verpachtte zijn land aan boeren, die nauwelijks vrije mensen genoemd konden worden. Ze hoorden bij het stuk land dat ze bewerkten. Als het land werd verkocht, werden niet alleen de boerderijen en het vee, maar ook de boeren mee verkocht.
De boer zelf had niets te vertellen over zijn boerderij, zijn gereedschappen en zijn familie. Hij werd ‘horige’ genoemd, hij ‘hoorde’ bij de grond waarop hij woonde. Hij bezat slechts het recht, een deel van de opbrengst van die grond voor zichzelf te behouden. Later zou de horige steeds meer rechten krijgen.
Helemaal geen rechten hadden de ‘lijfeigenen’. Ze waren persoonlijk aan hun heer gebonden. De maatschappij waarin horigen en lijfeigenen volledig ondergeschikt waren aan hun heer, wordt ‘feodaal’ genoemd. Het woord ‘feodaal’ is afgeleid van ‘feodum’, wat oorspronkelijk ‘vee’ betekende. Later werd het in ruimere zin gebruikt voor goederen en geld. In een feodale maatschappij bezit dus een kleine minderheid de macht.
Boeren en ambachtslieden
De feodale maatschappij van omstreeks het jaar 1000 steunde volledig op de landbouw. Alles wat voor het bestaan nodig was, werd zo mogelijk zelf geproduceerd. De eerste levensbehoeften van de mensen konden worden bevredigd: onderdak, eten en drinken. Maar een boer moest gereedschappen hebben om het land te kunnen bewerken. Zijn gezin moest zich kleden. Daarom waren er in vrijwel elk boerendorp wel mensen, die nog iets anders deden dan de grond bewerken. Ze bewerkten ijzer of hout. Ze maakten potten om in te koken of weefden stoffen om kleren van te maken of ze looiden leer om er schoenen van te maken. Veelal ruilden ze hun producten voor het voedsel dat ze zelf niet meer verbouwden. Zo ontstond het verschil tussen boeren en ambachtslieden. De heer, vaak een edelman en soms een abt van een klooster, wilde graag van de diensten van de ambachtslieden gebruik maken. Een ambachtsman was niet langer een horige. Hij hoorde niet bij een stuk grond. De ambachtsman was vrij. De ambachtslieden bemerkten al spoedig dat het voordeliger was, als ze voor meer dan één opdrachtgever werkten. Toen de vraag naar hun producten steeg, omdat de bevolking groeide, maakten vele ambachtslieden zich los van de landbouwgemeenschap. Ze zochten een andere woonplaats, om hun producten gemakkelijker en voor meer geld te kunnen verkopen.
Het ontstaan van de steden
De ambachtslieden zochten bij voorkeur een vestigingsplaats in de buurt van rivieren, waar de aanvoer en afvoer van hun grondstoffen en producten gemakkelijk was. Of ze vestigden zich op het kruispunt van belangrijke wegen. Daar vestigden zich dan ook bakkers, slagers, brouwers en kooplieden. De handelsnederzettingen, want steden waren het toen nog niet, vertoonden al snel een toenemende handel. Dagelijks trokken de boeren ernaar toe om hun producten aan de man te brengen. De nederzettingen trokken steeds meer mensen. Zo ontstonden in de jaren 1000-1200 de eerste nederzettingen. De kerk vormde daarvan het middelpunt. Rond de kerk bouwde men huizen, werkplaatsen en pakhuizen. Om rovers en ander gespuis te weren, werd om de stadskern een muur opgetrokken. Eerst was dat een muur van houten palen, later van steen. Toen kon er al bijna van steden worden gesproken.
Gilden
In de steden ontstonden de ambachtsgilden en de koopmansgilden. De ambachtsgilden waren een vereniging van vakgenoten waar godsdienst, liefdadigheid en cultuur elkaar ontmoetten. Hoe ouder het gilde, des te groter de plaats die werd ingeruimd voor godsdienstige bepalingen. Vrijwel elk gilde had een schutspatroon. In latere tijden werd het gezelligheidsaspect van de gilden steeds belangrijker. Het religieuze aspect uitte zich in de zorg voor weduwen en wezen. De onderlinge hulpverlening werd dus een meer sociaal aspect. Met de koopmansgilden zien we een nieuwe ontwikkeling ontstaan: de handel tussen de steden. Op hun tochten naar jaarmarkten reisden de kooplieden in groepen, om beter bestand te zijn tegen roofovervallen. Later, vanaf de 11e eeuw, zouden de koopmansgilden ook een belangrijke rol gaan spelen in het ontstaan van stedelijke instellingen. Door de handel tussen de steden ontstond ook het bankwezen. De Hanze was een verbond tussen steden welke handel met elkaar dreven.
Langzame vooruitgang
De wetenschap werd nog beheerst door de kerk. Tekenend is
bijvoorbeeld, dat men een grondige kennis had van het Latijn. Het Latijn, de oude taal van de Romeinen, was de voertaal van de geestelijken. Het Latijn werd door alle geestelijken in alle landen gesproken. Tevens was het een soort geheimtaal, die de wetenschap afschermde tegen de niet-geestelijken. Want iemand die kon lezen en schrijven, behoorde vrijwel altijd tot de geestelijke stand. De wetenschap, die vrijwel uitsluitend door geestelijken werd beoefend, was niet gericht op maatschappelijke vooruitgang. De wetenschap diende slechts om godsdienstige vraagstukken op te lossen. Maar de middeleeuwer voelde ook maar weinig behoefte om de maatschappelijke vooruitgang te bevorderen. Hij wist nauwelijks wat er zich op enige kilometers afstand van zijn huis of boerderij afspeelde. En daar was hij ook niet nieuwsgierig naar. Hij nam de dingen zoals ze waren. Hij voelde zijn onwetendheid niet als een last: God was immers alwetend en zorgde voor alles. Op aarde kon de middeleeuwer geen beter leven verwachten en daarom was zijn streven ook niet gericht op maatschappelijke verbeteringen. Hij berustte in zijn lot en rekende op de eeuwige zaligheid na zijn dood… Maar onder die berustende middeleeuwse mensen waren er ook die anders over de dingen dachten. Aan hen is het te danken, dat er tijdens de middeleeuwen op wetenschappelijk gebied toch een lichte vooruitgang te bespeuren viel en dat de wetenschap niet meer uitsluitend door de kerk beheerst zou worden.
De invloed van de Arabieren
Behalve de weinige geleerden die de wetenschap beoefenden en een
bijdrage leverden aan de geringe vooruitgang, hebben ook de Arabieren invloed gehad op de ontwikkeling van Europa.
Aan de keizerlijke universiteit van Salerno werden door Arabieren de beginselen van de geneeskunde onderwezen. Ze hanteerden een encyclopedie uit de 10e eeuw, geschreven door de Perzische geleerde Al-Razi. De Arabische heelmeester en wijsgeer Avicenna (980-1037) schreef een medisch handboek, de ‘Canon Medicinae’ dat ijverig werd bestudeerd. De Arabieren leerden de Europeanen ook een nieuwe manier van rekenen. Tot ver in de middeleeuwen rekende men met de oude Romeinse cijfers en getallen, die vijftallig‘ waren (de Romeinen kenden toen nog maar 5 cijfers; die van I tot en met V). De Arabieren daarentegen gebruikten 10 cijfers: 0 tot en met 9. Vooral door het invoeren van het cijfer 0 werd het rekenen veel gemakkelijker.
Men kon zich zelfs met hogere wiskunde gaan bezighouden.
De tegenwoordige cijfers 0 tot en met 9 worden daarom nog steeds ‘Arabische cijfers’ genoemd. (De Arabieren hadden deze cijfers weer overgenomen van de oude Chinezen.)
Niet alleen de geneeskunde en de wiskunde, maar ook de bouwkunde, de literatuur en de metaalbewerking in Europa hebben de invloed ondergaan van de Arabieren. Vooral tijdens de kruistochten nam die invloed flink toc.
De eerste universiteiten
In de jaren 1000-1200 ontstonden in Europa de eerste universiteiten. De eerste werden opgericht in Italië en Frankrijk. Daarna volgden Spanje en Engeland.
De universiteit van Parijs dateert uit 1150, die van Salerno uit 1173 en die van Bologna uit 1185. De universiteit van Bologna in Italië en zijn georganiseerde studenten kregen van keizer Frederik Barbarossa belangrijke voorrechten. De studentengemeenschap kon daardoor een geheel eigen leven leiden binnen de muren van de stad. De studenten hadden hun eigen wetten en hun eigen rechters. Het stadsbestuur van Bologna zat er danig mee in de maag. Ze probeerden keer op keer invloed te krijgen op het universiteitsbestuur, om uitwassen binnen de perken te houden. Uiteindelijk maakten de studenten het zó bont dat een grote groep de stad uit moest vluchten. Zo ontstonden rond 1200 in de Italiaanse steden Mantua en Vicenza nieuwe universiteiten, gesticht door gevluchte studenten van Bologna. Een andere groep studenten uit Bologna stichtte in 1215 in Arezzo en in 1222 te Padua een nieuwe hogeschool. Het universitaire onderwijs verbreidde zich zo over heel Italië en later over heel Europa. De middeleeuwse hoogleraren waren geheel afhankelijk van de studenten. Ze werden namelijk rechtstreeks door de studenten betaald. Een slechte hoogleraar was al snel brodeloos, omdat geen student zijn lessen nog wilde bijwonen…
De wijsbegeerte van Aristoteles
De opvattingen van de oude Griekse wijsgeer Aristoteles waren bijzonder geliefd aan de middeleeuwse universiteiten. Zijn werken werden met grote belangstelling gelezen. Vooral zijn ideeën over het logisch beredeneren van allerhande zaken spraken veel mensen aan. Aristoteles leerde niet wat men moest denken, maar hóe men moest denken. Zijn gedachten pasten zeer goed in het middeleeuws denken op het gebied van de wijsbegeerte en de godgeleerdheid, die men samenvattend de benaming ‘scholastiek’ heeft gegeven. De scholastiek vormde een poging om wijsbegeerte en godsdienst te verenigen. Men probeerde de gedachten van het christendom een wijsbegerige gestalte te geven. Deze hoogst ernstige zaak ontaardde vaak in vitterijen over kwesties die nauwelijks van belang waren. Zo werden in het Latijn hoogdravende verhandelingen geschreven over de vraag hoe een paard nu eigenlijk werd gemend: door de menner of door het leidsel dat de menner vasthield…
Tot de grootste denkers van de scholastiek behoorde Thomas van
Aquino (1224-1274). Hij verbond alle denken en handelen van de mens met de gedachten van de kerk. Op die manier verdedigde hij het katholieke geloof.
De groei van de bevolking
Met de groei van de Europese bevolking kwam er ook een grotere
behoefte aan bouwland. En daarmee ontstond weer de behoefte het bouwland beter te benutten. Grotere oogsten hadden tot gevolg dat de boerengezinnen groter werden, waardoor weer meer en beter bouwland beschikbaar moest komen. De bevolkingsgroei veroorzaakte zo een ontwikkeling in de landbouw en omgekeerd. De ontwikkeling in de landbouw bestond voornamelijk uit het bemesten van het land en het in gebruik nemen van werkdieren voor het ploegen.
De sterke groei van de bevolking werd van tijd tot tijd krachtig
onderbroken. Besmettelijke ziekten als pest, cholera, malaria, roodvonk en pokken braken regelmatig in geheel Europa uit. Tussen 1300 en 1400 werden West-Europa en Midden-Europa getroffen door vier grote pestepidemieën, die een derde tot de helft van de toenmalige bevolking doodde…
DE EERSTE STEDEN
De stadsrechten
De grondheren vonden het maar beter om de steden niet te veel vrijheid te geven. Ze bezaten nog steeds de grond, waarop de steden waren gebouwd. De stedelingen werden verplicht een soort pacht te betalen voor die grond, eigenlijk een regelrechte belasting. De grondheren eisten tevens, dat de stedelingen allerlei diensten verrichtten zoals ze dat gewend waren van hun horigen en lijfeigenen. De grondheer beschouwde een stad als een rijke bron van inkomsten.
Dit zette bij de vrije stedelingen al snel kwaad bloed. Er volgde een lange, hardnekkige en vaak bloedige strijd om de onafhankelijkheid van de steden. Vele steden werden daarbij gesteund door de vorsten. Koningen en keizers lagen nogal eens overhoop met hun leenmannen, die soms zo machtig waren geworden, dat ze zich van hun leenheer niets meer aantrokken. En daardoor werd de leensom, die tussen vorst en leenman was afgesproken, vaak niet meer betaald… Sommige vorsten sloten daarom vriendschap met de steden, die ze buiten de plaatselijke leenman om bepaalde voorrechten verleenden. Zo was vaak het jaarlijks bedrag dat de steden aan de koning betaalden voor het gebruik van de grond, lager dan de belasting die ze voordien moesten betalen. Voor een stad was het belangrijk, als ze ‘stadsrechten’ had. Aanvankelijk konden die alleen verleend worden door de koning, maar later gebeurde dat ook door grote leenmannen of belangrijke bisschoppen. Een stad met stadsrechten was een werkelijk vrije stad, met eigen grond, een eigen wetgeving en een eigen rechtspraak. Meestal hielden de stadsrechten ook in, dat er om de stad een muur gebouwd mocht worden of een gracht worden aangelegd. De landsheer die de stadsrechten verleende, benoemde zijn vertegenwoordiger in de stad, de baljuw of schout. De schout of baljuw regelde het bestuur van de stad, bijgestaan door de schepenen, die door de schout werden aangesteld. Het stadsbestuur kon van de landsheer het recht kopen om zelf een schout aan te stellen. Hoe welvarender de steden waren en hoe groter de geldnood van de landsheer was, des te meer voorrechten of privileges konden de steden zich verwerven. Die voorrechten konden bestaan uit het recht om weekmarkten en jaarmarkten te houden, het recht om accijns te heffen, het recht een waag te bouwen, enz.
Na omstreeks 1300 werden schout en schepenen voor het bestuur van de stad bijgestaan door raden van meestal vier en soms twee personen, gekozen uit de aanzienlijke burgers van die stad. Later raakten de namen poortmeesters of burgemeesters in gebruik.
De stadsrechten waren ook belangrijk voor de horigen en lijfeigenen. Binnen de muren van een stad werden ze gastvrij ontvangen. En als ze één dag inwoner van de stad waren geweest zonder dat ze door hun heer waren opgeëist, dan waren ze vrij!

De wet en dus ook de rechtspraak verschilden sterk van stad tot stad. Voor diefstal werd men in de ene stad in het schandblok geslagen (hierboven), in de andere stad hakte men de rechterhand af. Merkwaardigerwijs was de straf voor overspel in vele steden dezelfde: men stopte de veroordeelde in een pot met kokend water.
Bestuur en rechtspraak
De privileges hielden later gewoonlijk in, dat de stad mocht worden bestuurd door ‘schepenen’ die allen of voor een deel werden gekozen uit de inwoners. Zo’n toestemming kon in de officiële papieren soms worden toegelicht met: ‘opdat al datgene wat in de stad ongeregeld is, na rijp beraad in de juiste staat gebracht zal worden…’
Aan het hoofd van de schepenen stond de schout. De schout trad op zoals tegenwoordig de commissaris van politie en de officier van justitie. De schout was tevens belast met de administratie en de regeling van de financiële zaken. Maar in de pas ontstane steden bestonden nog geen echte rechtsregels. Het recht moest dus nog op schrift worden gezet. De rechtsregels zoals die zich in de loop van de eeuwen in een bepaald gebied hadden ontwikkeld, werden opgetekend. Soms waren enkele van die bepalingen al beschreven in oudere wetboeken, maar meestal waren ze mondeling overgeleverd. Het is duidelijk, dat in de nieuwe steden nog geen sprake was van een wetgeving die in alle behoeften voorzag. Bovendien verschilden de wetten van stad tot stad. In de ene stad werd een bepaald misdrijf heel anders beoordeeld en berecht, dan in een andere stad, eenvoudig omdat het overgeleverde of opgetekende recht plaatselijk grote verschillen vertoonde.
Het dagelijks leven in een middeleeuwse stad
Het leven in een middeleeuwse stad verliep volkomen anders dan in dc moderne steden. Om te beginnen was de omvang van zo’n stad eigenlijk maar klein. De meeste steden hadden nog geen 2.000 inwoners. Plaatsen met meer dan 10.000 inwoners werden tot de wereldsteden gerekend! Uit de verte gezien leek zo’n stad op een plaatje uit een sprookjesboek. De vele torenspitsen schitterden in het zonlicht. De zware wallen met de begroeide muren, de grachten met helder water en de machtige poorten deden denken aan het kasteel van een rijke koning. Maar aan de andere kant van de ophaalbrug, voorbij het zware poortgebouw met z’n grimmige wachters, veranderde het beeld volkomen.
De straatjes waren nauw, donker, krom en bedekt met taaie modder. Uit de huizen en donkere straathoeken steeg een ondraaglijke stank op. Riolen waren er niet. Overal liepen koeien, schapen en varkens. Huisvuil, achteloos naar buiten gegooid, bleef stinkend op een hoop liggen. Het werd nooit opgehaald. In de rivier, die gewoonlijk door zo’n stad liep, vond het vee een drinkplaats. En in dezelfde rivier wasten vrouwen hun kleren en ze haalden er in hun houten emmers ook het water om het eten in te kunnen koken… Het was geen wonder dat er veel bier en wijn werd gedronken!
’s Nachts zorgde alleen de maan voor straatverlichting. De meeste straten waren ’s avonds dan ook uitgestorven, als er geen maan was. Alleen rovers waagden zich in het donker op straat.
De huizen van de schepenen en de rijke kooplieden waren kleine paleisjes, vaak omgeven door hoge bomen en kleurrijke tuinen. De huisjes van de gewone man waren klein, vochtig en tochtig. In dezelfde donkere kamer huisden alle leden van het kinderrijke gezin. Zelden sliep het vee in een apart schuurtje. De armsten woonden in een uitholling van de stadsmuur. Vrijwel alle huizen en huisjes waren gebouwd van hout en klei, bedekt met stro. Alleen kerken, kloosters en stadhuizen waren soms uit steen opgetrokken.
Besmettelijke ziekten
De erbarmelijke toestanden in de steden werkten verspreiding van besmettelijke ziekten in de hand. Pest, cholera, malaria, roodvonk en tuberculose roeiden soms wel de helft van een stadsbevolking uit. Sommige stadsbestuurders probeerden de verschrikkelijke epidemieën te voorkomen. De kleren, het bed en soms wel de hele woning van een aan de pest of andere ziekte bezweken stadgenoot werden verbrand. Maar het verbranden van een woning was bijzonder riskant. De steden waren opgetrokken uit louter brandbaar materiaal. Bijna elke Europese stad is in de middeleeuwen wel één keer of meermalen tot het laatste huis toe afgebrand! Een paar emmers water konden bij de enorme vuurzee die ontstond natuurlijk weinig uitrichten…
Ondanks de gruwelijke epidemieën en de verschrikkelijke branden bleven de steden groeien. Steeds meer boeren zochten hun heil in de stad. Vooral op de armsten oefende de rijke stad een grote aantrekkingskracht uit. Soms werden de verschoppelingen door de schout en zijn helpers bijeengedreven en buiten de poorten gebracht. Daar bouwden ze dan schamele hutjes en afdaken tegen de stadsmuren. Ze voorzagen in hun levensonderhoud door bij de
stadspoorten te bedelen. En als er op marktdagen veel volk naar de stad trok, glipten ze weer mee naar binnen…
Het begin van de koopvaardij
Iedere soort handel had in een stad zijn eigen wijk en iedere wijk had zijn eigen markt. Handwerkslieden met hetzelfde ambacht woonden bij elkaar in dezelfde straat, Zo ontstonden ook vele straatnamen: Brouwersgracht, Mandemakerssteeg, Leerlooierskade, Touwslagersstraat. Het handelsgebied van vele steden was maar beperkt. Hooguit werd wat handel gedreven met kooplieden uit nabijgelegen steden. Maar meestal vond de handel plaats tussen de burgers van de steden en de boeren uit de dorpen in de omgeving. Met het groeien van de steden groeide ook het handelsgebied. Sommige steden werden vermaard om hun aardewerkproducten, andere om hun wollen stoffen enz. De mensen werden steeds veeleisender: ze namen alleen nog maar genoegen met aardewerk uit de ene stad en wol uit de andere. De handelswegen begonnen daardoor langer te worden. Steden die aan zee lagen, begonnen zelfs producten overzee te kopen en te verhandelen. Dat was bijvoorbeeld het geval met de steden Brugge en Dordrecht aan de Noordzee, met Lübeck en Novgorod aan de Oostzee en met Genua, Pisa en Venetië aan de Middellandse Zee.
Kostbaarheden uit het Oosten
Voor de Italiaanse havensteden speelden de kruistochten een belangrijke rol in hun ontwikkeling. Tijdens de eerste kruistocht waren de kruisridders niet bepaald zachtzinnig omgesprongen met de boerenbevolking van Klein-Azië. Een ware hongersnood was het gevolg. De kooplieden uit Genua, Pisa en Venetië brachten met hun koopvaardijschepen voedsel en vee naar het hongerende gebied. Ze lieten zich er goed voor betalen met geld en… rechten. Vooral die rechten legden de Italianen geen windeieren. Ze verkregen het recht handelsposten te stichten in vele havensteden aan de kust van Klein-Azië. Die handelsposten ontwikkelden zich al snel tot echte kolonies, met een eigen bestuur en een eigen rechtspraak. Een belangrijk deel van de kust van Klein-Azië kwam onder invloed te staan van Italiaanse steden. De Italiaanse koopvaarders brachten koren, vee en wollen stoffen naar het Oosten. En ze brachten olijfolie, wijn, suiker en specerijen mee terug. Vanuit hun handelsbolwerken in Italië vonden deze producten hun weg door heel Europa. Ook zijde, edelstenen en andere kostbaarheden waren erg gewild in de Europese steden. Niet alleen bij vorsten, edelen en kerkelijke hoogwaardigheidsbekleders vielen de nieuwe luxeartikelen goed in de smaak. Ook in de steden, waar zich steeds meer rijke kooplieden vestigden, ontstond een grote vraag naar de goederen uit het Oosten. Vooral de specerijen gingen duur van de hand. Peper en kruidnagelen bleken uitstekend te voldoen bij het bereiden van gedroogde of zwaargepekelde spijzen. De lange handelsreizen waren niet zonder gevaar. Over land reisden de kooplieden onder gewapende geleide. Roofridders en struikrovers
overvielen de konvooien met waardevolle goederen, als ze daar de kans voor kregen. Op zee werden de koopvaarders belaagd door piraten. De steeds groter wordende schepen werden daarom bewapend met soldaten, die de aanvallen moesten afslaan.
De jaarmarkten
Eenmaal per jaar was er in de steden een groot feest: de jaarmarkt. Van heinde en verre kwamen kooplieden en kooplustigen naar de stad, waar wel meer te doen was dan alleen kopen en verkopen. Er werd ongeremd feestgevierd. Voordat de jaarmarkt begon, werd een speciale mis opgedragen. In Duitsland wordt een jaarmarkt nog steeds een ‘Messe’ genoemd. Het woord ‘kermis’ is afkomstig van de ‘kerkmis’, die vóór de jaarmarkt werd opgedragen. Daarna werd de jaarmarktvrede afgeroepen. Als teken daarvan plantte men een kruis op het marktterrein. Aan het kruis hingen een rood vaandel, een zwaard en een hoed (soms ook een handschoen). Rondreizende toneelspelers voerden kluchten op. Goochelaars en acrobaten vertoonden hun kunsten, kwakzalvers en kiezentrekkers klopten eenvoudige boeren en burgers het geld uit de zakken. Bij wijze van uitzondering gaven de stadsbesturen toestemming om te dansen en te dobbelen. De jaarmarkt, een uitbundig feest dat soms wel een week kon duren, heeft in de bekende kermis een laatste overblijfsel.
GILDEN EN HANZE
Het ontstaan van de Gilden
In de jaren 1000 – 1200 ontstonden in de handelsnederzettingen, waaruit later de steden zouden voortkomen, bepaalde ambachtsgemeenschappen. Handwerkslieden met hetzelfde ambacht zagen al snel in, dat ze hun krachten beter niet konden verspillen aan moordende concurrentie. Wilde een stad sterk worden, dan moesten de ambachtslieden de handen ineenslaan om de kwaliteit en de prijs van hun producten op het gewenste hoge peil te houden. Ze sloten zich aan bij een soort verenigingen, die hun belangen behartigden: de latere gilden. Het woord ‘gilde’ betekende oorspronkelijk de betaling of bijdrage, die betaald moest worden om de vereniging in stand te houden.
De taak van de gilden
De gilden waren geen vakbonden in de moderne zin van dit woord. In een gilde waren alle ambachtslieden met hetzelfde beroep verenigd, zowel de werkgevers als de onbetaalde leerjongens. Ook waren het geen gezelligheidsverenigingen, al wilden de gildebroeders, zoals ze genoemd werden, soms met genoegen eet- en drinkgelagen aanrichten. De gilden waren pure belangenverenigingen, die niet alleen de plichten, maar vooral ook de rechten van de gildebroeders vastlegden. Een aantal democratisch gekozen gildemeesters en keurmeesters vormden de leiding van een gilde. In schriftelijke verklaringen, de zogenaamde ‘keuren’, werden alle plichten en rechten vastgelegd. De keur van het gilde van de goudsmeden bepaalde bijvoorbeeld het gehalte van gouden en zilveren voorwerpen. De keur van de bakkers legde vast hoeveel bakkers zelfstandig mochten werken, om te voorkomen dat er te veel bakkerijen in de stad zouden ontstaan. Zelfs het aantal personeelsleden mocht niet zelfstandig door een werkgever worden bepaald. Het gildebestuur hield het aantal leden nauwgezet in de hand, omdat ‘vele varkens de spoeling dun maakten’. Het gildebestuur bepaalde de prijs van de producten, de hoeveelheid die mocht worden gemaakt en de kwaliteit waaraan die producten moesten voldoen.
Het loon dat ieder gildelid verdiende, werd door de gildemeesters vastgesteld, evenals de werktijden. Weduwen en wezen van gestorven gildebroeders moesten door de overige gildeleden worden onderhouden.
Van leerjongen tot meester
Was er binnen een gilde plaats, dan kon iemand worden toegelaten als leerjongen. Zo’n leerjongen werd dan in een van de werkplaatsen opgeleid. Hij verdiende daar geen geld. Integendeel, hij moest ‘leergeld’ betalen. Desnoods kon het leergeld door het gilde worden voorgeschoten. Later, als hij zich gevestigd had, moest hij dat leergeld dan terugbetalen.
Na een jarenlange leertijd kon een leerjongen het brengen tot gezel. Een gezel was een geschoolde arbeider, die een vast loon verdiende in de werkplaats van een meester. Zo’n zelfstandige meester, die zelf als leerjongen en gezel het vak had moeten leren, had zijn plaats als meester moeten kopen met een aanzienlijk garantiebedrag. Maar alleen met het betalen van het garantiebedrag werd men nog geen meester. Dat werd men pas, nadat men een goedgekeurd proefstuk of ‘meesterwerk’ had afgeleverd. De gildekeuren stelden vast welke
werkstukken tot het meesterwerk behoorden en aan welke kwaliteiten het werk moest beantwoorden. Alleen iemand die zijn meesterstuk met goed gevolg had afgeleverd, kon zelfstandig een werkplaats openen en er gezellen en leerjongens op nahouden.
De schuttersgilden
In de vroege nederzettingen was een leger, samengesteld uit de burgerij, een kwestie van noodzaak en puur lijfsbehoud. Weerspannige landheren en op buit beluste rovers hadden het maar al te vaak op de rijker wordende steden gemunt. Tijdens de latere middeleeuwen werd deze taak overgenomen door de schuttersgilden. Uit prestige-overwegingen werden de schuttersgilden gewoonlijk gekleed en uitgerust door de stadsbesturen. De schuttersfeesten, waarop vele schuttersverenigingen hun vaardigheid met de boog demonstreerden, werden vermaard. In het jaar 1350 namen de schuttersgilden van 36 verschillende steden deel aan het grote schuttersfeest van de Vlaamse stad Doornik.
De machtige Hanzen
De koopmansgilden, die uitgroeiden tot internationale
koopmans-bolwerken, werden ‘Hanzen’ genoemd. Koopmansgilden van bepaalde steden spraken af, dat ze met elkaar de handel in bepaalde goederen zouden beheersen, zonder inmenging van buitenstaanders. Op die manier kon de prijs van vele goederen tot grote hoogte worden opgedreven… Onder de talrijke Hanzen waren er drie, die de meeste macht in West-Europa bezaten: De Vlaamse Hanze van Londen, de Hanze van de Zeventien Steden en de Duitse Hanze. De Vlaamse Hanze van Londen bestond uit Vlaamse kooplieden, die het alleenrecht hadden verworven om handel te drijven met Engeland en Schotland. Het bestuur van deze Hanze bestond uit een ‘Hanze-graaf’, een ‘vaandrig’ en een dertigtal rechters.
De Hanze van de Zeventien Steden was opgericht voor de handel op Italië. Sommige steden in Vlaanderen en Noord-Frankrijk waren er lid van. De kooplieden hielden zich vooral bezig met de lakenhandel en ze hielden grote jaarmarkten in het Franse Champagne.
De Duitse Hanze, ontstaan omstreeks 1150, was aanvankelijk alleen bedoeld voor Noord-Duitse kooplieden. Na 1300 sloten zich ook kooplieden uit Nederland en België bij de Duitse Hanze aan. Sinds omstreeks 1250 bezat het Duitse Hanze-verbond het alleenrecht op de handel via de Oostzee en de Noordzee.
De Hanze van de Zeventien Steden
De Hanze van de Zeventien Steden, tot 1344 kortweg ‘de 17 steden’ genoemd, heeft een grote rol gespeeld in het handelsverkeer tussen West-Europa en Zuid-Europa. Van oorsprong was het een verbond tussen slechts een paar steden, gevormd door een groep van invloedrijke kooplieden. Later, in het begin van de jaren 1200, groeide het verbond uit tot een vereniging van 17 steden in Vlaanderen en Noord-Frankrijk. Later zouden zich nog acht andere steden, waaronder Doornik en Hoei, bij het verbond aansluiten.
Vooral de handel in producten van de lakennijverheid werd in de Hanzesteden gestimuleerd. Toen in het begin van de jaren 1300 de Vlaamse lakenindustrie minder belangrijk werd en de handelswegen werden verlegd, werd de betekenis van de Hanze beduidend kleiner.
De Vlaamse Hanze van Londen
De Hanze van Londen was een handelsverbond tussen enkele Vlaamse steden, onder leiding van Brugge.
De bloeitijd van de Hanze van Londen, die handel dreef met Engeland en Schotland, viel samen met de bloeitijd van de Vlaamse handel (12e en 13e eeuw). Behalve Brugge en omgeving (o.a. Damme en Aardenburg), waren leper met omgeving en Doornik en Rijssel (Lille) belangrijke kernen van de Hanze van Londen. Het verval van Brugge en leper viel samen met de opkomst van de Brabantse lakenindustrie (o.a. Mechelen).
Toch zou die opkomst van tijdelijke aard zijn. Tegen 1300 was de teruggang in Vlaanderen én Brabant algemeen.
Antwerpen, het financieel hart
Een oorkonde uit het jaar 726 maakte voor het eerst melding van het bestaan van de stad Antwerpen. In 836 werd het stadje door de Vikingen geplunderd en verwoest. Tegen 1200 verkreeg Antwerpen stadsrechten en er werden wallen en poorten omheen gebouwd. In 1295 verwierf de stad het alleenrecht op de handel in Engelse wol. Vlaanderen was tijdens de middeleeuwen het middelpunt van de
wolindustrie. Vlaams laken en tapijt werden in heel Europa verkocht en brachten het graafschap tot groot aanzien. Door het alleenrecht van de Antwerpenaren op de wolinvoer, werden belangrijke handelssteden als Brugge en leper ten dode opgeschreven.
Omstreeks 1350, toen de Engelsen zelf hun wol tot laken gingen verwerken, begonnen de Antwerpse koopvaarders dit laken in te voeren. Op de Antwerpse jaarmarkt kwamen kooplieden uit heel Europa het goedkope Engelse laken inkopen. De wolindustrie van Vlaanderen en Brabant gleed daarmee naar de rand van de afgrond.
Omstreeks het jaar 1400 telde de trotse stad aan de Schelde ongeveer 12.000 inwoners. Aan het eind van de middeleeuwen was Antwerpen de grootste handelsstad en het financiële hart van West-Europa. Grote kunstenaars en wetenschapsmensen vonden in Antwerpen een trefplaats.
Dinant
Aan de rivier de Maas was Dinant de belangrijkste stad uit de middeleeuwen. Reeds in de jaren 500 – 900 werd Dinant een bloeiend handelscentrum. Na 1100 ontstond in Dinant de koperindustrie, die de belangrijkste werd van heel Europa. Het bloeiende Dinant had vele jaloerse vijanden. In 1466 werd de stad op bevel van hertog Filips van Bourgondië geheel verwoest.
De Duitse Hanze
De Duitse Hanze is omstreeks 1150 ontstaan, gevormd door een groepering van kooplieden uit Noord-Duitse steden.
Rond 1350 had de Duitse Hanze zich uitgebreid tot een vereniging van steden die zich bevonden in de gebieden tussen de Zuidzee, de Finse Golf, de Baltische Zee en Thüringen. Tussen 1300 en 1400 bereikte het verbond zijn bloeitijd. Het omvatte toen meer dan 150 steden, waarvan Lübeck de voornaamste was. Andere Hanzesteden aan de Oostzee waren Riga, Koningsbergen, Danzig en Rostock. Hanzesteden in Noord-Duitsland waren Hamburg en Bremen. Tot de Hanze behoorde in de toenmalige Nederlanden o.a. Groningen, Deventer, Arnhem en Harderwijk.
In de loop van de jaren 1400 trad het verval in. De laatste bijeenkomst van de Duitse Hanze werd gehouden in 1669.
De Hanze en Holland
De Hollandse en Zeeuwse steden hebben nooit deel uitgemaakt van een Hanzeverbond. Dat leidde in de loop van de jaren 1400 tot enkele zee-oorlogen om het recht van alleenhandel in het Oostzeegebied te verkrijgen. Pas tegen 1500 zouden de Hollanders een groot deel van de Oostzeehandel in handen krijgen. De opkomst van de staten in de 16e eeuw en de verlegging van de handelswegen naar het Atlantische Oceaangebied zouden echter het einde Het in de gebieden tussen de Zuidzee, de Finse Golf, de Baltische Zee en Thüringen. Tussen 1300 en 1400 bereikte het verbond zijn bloeitijd. Het omvatte toen meer dan 150 steden, waarvan Lübeck de voornaamste was. Andere Hanzesteden aan de Oostzee waren Riga, Koningsbergen, Danzig en Rostock. Hanzesteden in Noord-Duitsland waren Hamburg en Bremen. Tot de Hanze behoorde in de toenmalige Nederlanden o.a. Groningen, Deventer, Arnhem en Harderwijk.
In de loop van de jaren 1400 trad het verval in. De laatste bijeenkomst van de Duitse Hanze werd gehouden in 1669.
De Hanze en Holland
De Hollandse en Zeeuwse steden hebben nooit deel uitgemaakt van een Hanzeverbond. Dat leidde in de loop van de jaren 1400 tot enkele
zee-oorlogen om het recht van alleenhandel in het Oostzeegebied te verkrijgen. Pas tegen 1500 zouden de Hollanders een groot deel van de Oostzeehandel in handen krijgen. De opkomst van de staten in de 16e eeuw en de verlegging van de handelswegen naar het Atlantische Oceaangebied zouden echter het einde betekenen van het verbond van Hanzesteden.
GELD
Munten als sieraad
‘Geld moet rollen’ is een veelgehoorde uitdrukking en een waarheid zo oud als het geld zelf. Na de val van het West-Romeinse rijk in 476 na Chr. ging deze zegswijze niet meer op, want geld was in onbruik geraakt. Aanvaardde men geld in het Romeinse rijk nog overal als betaalmiddel, in de vroege middeleeuwen was er niets meer van in omloop. Daarna bediende men zich weer van ruilhandel en daarin zou tot omstreeks het jaar 800 geen verandering komen. De adel en de geestelijkheid bezaten nog wel gouden munten uit de Romeinse tijd, maar die gebruikten ze hoogstens als sieraad of verzamelstuk. De gewone man kwam nauwelijks met geld in aanraking. De meesten kenden de waarde van de munten niet eens. De boeren op het platteland waren als horigen ondergeschikt aan hun heer en leefden van een deel van de opbrengst van hun land. Geld was nog geen noodzaak. Door bebouwing en ruilhandel voorzagen de boeren en hun heer in eigen behoeften.
Het muntrecht
Omstreeks 800 na Chr. liet Karel de Grote munten slaan. Hij bracht ze in omloop om de handel te bevorderen. Het zou echter nog een paar eeuwen duren, voor geld als betaalmiddel weer algemeen werd aanvaard. Eerst met het ontstaan van de steden begon het geld langzamerhand weer in zwang te raken. Het was een voorrecht, een privilege, als een nederzetting toestemming kreeg eigen munten te slaan. De waarde van de munten werd door de bewoners zelf bepaald. Dit systeem zou niet standhouden. Velen begonnen stukjes van de munten af te snijden. Deze schilfertjes zilver werden dan bewaard om later omgesmolten en verkocht te worden. Zo nam de waarde van de munten af.
In ons land bestond het woord ‘geldsnoeier’ al… Dat snoeien van munten is echter niet de enige oorzaak van de geldontwaarding in de middeleeuwen geweest. De waarde van de munten hing af van de prijs van het zilver. Het edelmetaal daalde in waarde als er meer zilver uit de mijnen kwam. Werd het zilver echter zeldzamer, dan steeg de waarde van het geld. Ook de kwaliteit van het metaal speelde een grote rol. Bovendien droeg de muntmeester zelf vaak zijn steentje bij aan de geldontwaarding. Om zijn munten te slaan moest hij zilver inkopen en omsmelten. Het was voor hem dan voordelig het zilver te vermengen met een ander metaal, bijvoorbeeld koper. Zo verkreeg hij meer munten, maar de waarde van het geld nam opnieuw af…Omdat de munten aan slijtage onderhevig waren en omdat de waarde van het zilver soms sterk kon veranderen, moest van tijd tot tijd nieuw geld worden geslagen. De oude munten werden dan ongeldig verklaard en moesten worden ingeruild tegen nieuwe. Meestal kreeg men minder geld terug dan men had ingeleverd. De winst verdween als een soort belasting in de zak van de heer, de eigenaar van de grond, waarop de muntmeester zijn werk deed. Op die manier ontstonden steeds nieuwe munten. Bovendien had iedere plaats zijn eigen geld, zodat er een vrij wanordelijke toestand ontstond. Een groot bezwaar waren de afstanden, die men niet zo snel kon overbruggen als tegenwoordig. Mensen die op een dag reizen van de muntmeester woonden, wisten meestal niet zo snel dat een munt moest worden ingeruild. Ook gebeurde het wel dat de oude munt gewoon in gebruik bleef. Het kwam daarentegen ook voor, dat men helemaal geen vertrouwen meer stelde in het geld dat in omloop was. Vaak sleten de munten zo erg, dat het stempel op den duur onzichtbaar werd. Het was dan onmogelijk de waarde en de herkomst te onderscheiden. Dit was, mede door het aantal verschillende soorten geld dat in omloop was, niet bevorderlijk voor het vertrouwen, dat men in het betaalmiddel stelde.
Zucht naar geld
De kruistochten versterkten de behoefte aan geld bij de West-Europese adel. Het kruisleger moest grote afstanden afleggen om het Heilige Land te bereiken. Het was niet mogelijk proviand mee te nemen met het oog op bederf. Voedsel moest onderweg worden gekocht, zodat veel geld nodig was. Het gevolg was geldontwaarding, omdat er steeds meer munten werden geslagen. Na elke kruistocht werd bovendien de geldhonger groter, omdat de kruisridders in de islamitische landen in aanraking kwamen met een veel grotere luxe dan waaraan ze gewend waren. De adel begon daarom hogere eisen te stellen aan allerlei zaken, zoals aan de inrichting van hun woningen en aan hun voedsel. In Frankrijk leidde een oorlog met Engeland in de vijftiende eeuw tot een rampzalige geldontwaarding. De Franse koning Karel VII moest legers huren, maar kampte met geldgebrek. Daarom gaf hij zijn muntmeester Jacques Coeur opdracht een grote hoeveelheid minderwaardige munten uit te geven. Het gevolg daarvan was een grote onrust onder de bevolking. Vooral de boeren voelden zich sterk getroffen door de ontwaarding van het geld. Karel VII was toen wel gedwongen een aantal hervormers te benoemen om de waarde van de Franse munt te verhogen. Dat kostte de muntmeester bijna de kop. De koning kon hem slechts van de galg redden door hem persoonlijk gratie te verlenen.
Op den duur werd zilver minder geschikt als betaalmiddel. Het
vertrouwen in de munten nam sterk af. Zilver was niet erg waardevast en er was veel vals geld in omloop. Omstreeks 1350 raakte het goud in zwang. Goud betekende standvastigheid, betrouwbaarheid en rijkdom. Dat metaal was echter in de middeleeuwen erg zeldzaam. Volgens sommigen zou het in omloop zijnde goud in Midden-Europa toen ongeveer 400 ton hebben bedragen. Dat is minder dan de huidige wereldproductie van goud in een jaar. Goud was heel geschikt om munten van te slaan. Het was schaars en daarom konden kleine munten een hoge waarde hebben. Ook was de kwaliteit gemakkelijk te beoordelen naar gewicht en hardheid. Vele beten in de munten om erachter te komen of het goud wel zuiver was. Goud werd in ieder land voornamelijk gebruikt voor de handel met het buitenland. Veel goud uit India en Arabië kwam terecht in de landen aan de oostkust van de Middellandse Zee. De handel op die gebieden was voornamelijk in handen van de Italiaanse steden Venetië en Florence. Die handelssteden konden het goud daar goedkoper krijgen dan in Midden-Europa.
Venetië en Florence waren toen ook welvarende handelssteden. De gouden munt uit Florence was de florijn, een munt die in Noord-Europa zeer in trek was. De Nederlandse gulden wordt nog steeds aangeduid met ƒ of fl, afkortingen van ‘florijn’.

In de middeleeuwen was het de gewoonte dat bij overeenkomsten een eed van trouw en respect werd afgelegd. Nadat het contract was getekend, werd het in tweeën gesneden. Beide partijen behielden een deel, voor het geval dat er onenigheid zou ontstaan.
De eerste bankiers
Tussen 1000 en 1400 breidde de handel zich sterk uit. Er moesten soms betalingen verricht worden over lange afstanden. De plaatselijke handel werd al bemoeilijkt door de vele verschillende munten die er bestonden. In de internationale handel kreeg men te maken met nóg meer verschillende munten. Maar handel moest er worden gedreven en vanuit die behoefte ontstond het vak van geldwisselaar. Dat was een moeilijk beroep. Een geldwisselaar moest de waarde kennen van al die honderden verschillende gouden en zilveren munten om ze tegen elkaar te kunnen uitwisselen. Die mensen kregen de naam ‘banchiere’, waarvan later het woord bankier werd afgeleid. De banchiere werkte in een kraampje op straat. Om gemakkelijk met de honderden muntsoorten te kunnen werken, maakte hij gebruik van een toetssteen, een goudweegschaal en een soort telraam. Meestal was de wisselaar tegelijk goudsmid en verwerkte hij de ingekochte munten ter plaatse in zijn werkplaats. Toch was het systeem met banchieres verre van ideaal voor de internationale handel. In Europa wemelde het van roversbenden, plunderende soldaten en aan lager wal geraakte edelen. Reizen was levensgevaarlijk. Vooral kooplieden waren nooit veilig. Zij hadden immers altijd grote sommen geld bij zich op hun reizen, omdat ze vaak ver van hun woonplaats betalingen moesten verrichten. Bovendien duurden de reizen in de middeleeuwen erg lang, wat het gevaar overvallen te worden alleen maar vergrootte. Als een koopman van Noord-Europa naar Zuid-Europa moest reizen, was hij weken onderweg. De tocht voerde over wegen die niet meer waren dan karrensporen. Bovendien werd de reis vaak bemoeilijkt door wisselende weersomstandigheden, bruggen die het begaven en lieden van onzuivere levenswandel, die het op het geld van de kooplieden hadden voorzien. Ongetwijfeld zullen velen in die tijd er diep over hebben nagedacht hoe ze iets konden betalen over grote afstanden, zonder zakken vol goud en zilver met zich mee te hoeven slepen.
Geld in bewaring
De banchieres vonden daarvoor echter een oplossing. Ze zouden de eerste bankiers worden. Bij hen kon iedere koopman geld in bewaring geven. Daarvoor in de plaats ontving de koopman een bewijs, een schuldbekentenis. Daarop kon hij later in een andere plaats geld krijgen. Zo kon hij lange afstanden afleggen zonder al te veel geld bij zich te hebben. Zou hij onderweg worden beroofd, dan konden de rovers met de kredietbrief niets beginnen, omdat alleen de koopman zelf daarop geld kon ontvangen. Met de uitbreiding van de handel ontstond dus het eerste giroverkeer.
In het middeleeuwse Europa wist men nog niet, dat de Babylonen vijfduizend jaar tevoren op ongeveer dezelfde manier al handel dreven. Bij hen waren de priesters en de tempels de banken. Met het ondergaan van die grote rijken ging ook deze kennis verloren.
De geldwisselaars hebben dat systeem echter opnieuw ontdekt en het kwam hun beurs ten goede. Ze werden schatrijk. Zo rijk zelfs, dat de bankiers als geldschieters langzamerhand onmisbaar werden voor vorsten, bisschoppen en stadsbesturen. Er is een zeer oude schuldbekentenis uit 1199 van Jan zonder Land, koning van Engeland, bewaard gebleven. Omdat de kooplieden van Piacenza aan Richard Leeuwenhart, zijn voorganger, geld hadden geleend voor een kruistocht, was Jan I verplicht hun 2125 zilveren marken te betalen. In een andere schuldbekentenis verplichtte de koning zich, 500 zilveren marken uit te keren tegen overlegging van de kredietbrief. Jan zonder Land betaalde al zijn schulden uit de belastingopbrengsten. De geldschieters kregen voor verstrekte leningen van alles in ruil, zoals opbrengsten van grond van landeigenaren of belastingopbrengsten van bepaalde steden. De steden maakten op hun beurt weer gebruik van kredieten om bepaalde rechten te kopen bij hun heer. Dat was voor de steden een aanzienlijke steun in hun strijd om hun onafhankelijkheid. Door de toenemende handel raakten de grondbezitters steeds vaker in geldnood. Daarvan waren ook de oorlogen een belangrijke oorzaak. De landeigenaren werden daarom steeds scheutiger met het verkopen van privileges aan steden. Het geld voor die voorrechten moest echter uit de zakken van de burgerij komen. Daardoor werden de belastingen soms zeer hoog, wat dikwijls weer aanleiding gaf tot onrust. Als het stadsbestuur bij het betalen van de schulden in gebreke bleef, zag het er voor de burgers niet rooskleurig uit. De stedelingen werden persoonlijk aansprakelijk gesteld. Ze konden overal worden opgepakt en gegijzeld, als een schuldeiser een betaling wilde afdwingen. Bovendien werden al hun bezittingen verbeurd verklaard.
Geestelijkheid in zaken
Niet alleen de bankiers, maar ook de kloosters deden grote zaken als geldschieters. Voor de geestelijkheid bestond echter een kerkelijk verbod op het berekenen van rente. Een tijdlang was de geestelijke Orde van de Tempelieren de grootste bankier in Europa. Zij had haar hoofdkantoren in Londen en Parijs. Zelfs tot in het Midden Oosten bevonden zich bijkantoren van deze orde. Later zouden de Joden een grote rol gaan spelen in het kredietwezen. Dat was nadat de Franse koning de Orde van de Tempelieren had opgeheven en haar bezittingen in beslag had genomen. De Joden konden wél rente berekenen, omdat zij niet waren gebonden aan een pauselijk verbod. Andere grote bankiers in de late middeleeuwen waren de Longobarden uit Noord-Italië. Zij worden ook wel Lombarden genoemd. Geruime tijd bezaten zij een monopolie. In Engeland waren zij toen de enigen, die krediet verleenden. De Londense Lombardstraat herinnert daar nog aan. Ook de Nederlandse naam Lommerd is van Lombard afgeleid. Het zou de bankiers steeds beter gaan. In 1251 verpandde de Duitse keizer zelfs zijn troon aan bankiers uit Genua. Ook heeft een paus wel eens zijn gouden tiara als onderpand bij bankiers in bewaring gegeven.
DE TECHNISCHE ONTWIKKELING
Weinig vooruitgang
De vooruitgang van de techniek is in de middeleeuwen niet zo groot
geweest. De wetenschap ontwikkelde zich maar matig. Slechts weinig uitvindingen hadden werkelijk invloed op het maatschappelijk leven. Toch komt aan de middeleeuwers de eer toe een tweetal uitvindingen te hebben gedaan die zeer verstrekkende gevolgen hadden: het buskruit en de boekdrukkunst.
De uitvinding van het buskruit
Bekend is, dat de Chinezen in de oudheid het buskruit al kenden. Ze gebruikten het aanvankelijk alleen voor vredelievende doeleinden, zoals voor het vervaardigen van vuurwerk dat bij feestelijkheden werd afgestoken.
In 1325 werd het buskruit in Europa opnieuw ontdekt door de Franciscaner monnik Berthold Schwarz uit Freiburg. Schwarz was een vrome geestelijke, die zijn vinding uitsluitend voor vredelievend gebruik had bestemd. Hij deed er proeven mee in de mijnbouw en bij sterke kasteelmuren, die moesten worden gesloopt. Maar het duurde niet lang, of minder vredelievende lieden zagen de grote mogelijkheden van het buskruit in de oorlogvoering.
In de Slag bij Crécy in 1346 werd voor de eerste maal gebruik gemaakt van de nieuwe uitvinding. Het geschut dat de eerste kogels afvuurde, veroorzaakte grote paniek onder de vijandelijke paarden, die daardoor hun berijders op de grond wierpen en op hol sloegen. Schade door kogels was er nauwelijks…
Door de ontwikkeling van de vuurwapens viel de ridderstand aanmerkelijk in macht terug. Geen harnas bleek bestand tegen kogels, die een eenvoudig soldaat kon afschieten. Geen zwaard was zo snel en kon zover reiken, dat het de schutter verhinderde zijn schiettuig te laten ontbranden. Zelfs zware kasteelmuren werden met enige welgerichte kanonschoten in puin geschoten.
De boekdrukkunst
Tijdens de middeleeuwen werden de boeken met de hand geschreven en overgeschreven. Eén boek overschrijven kostte vaak jaren monnikenwerk.
Ook de uitvinding van de boekdrukkunst vindt zijn oorsprong in het Verre Oosten. Al omstreeks 770 na Chr. was in China sprake van blokdruk. Hele bladzijden werden in spiegelschrift in hout gesneden. De houten blokken werden daarna ingesmeerd met inkt, waarna er op een papier een afdruk van werd gemaakt. Boeken die op deze manier waren gedrukt, worden ‘blokboeken’ genoemd. Maar de blokken sleten snel en dan konden ze niet meer worden gebruikt. Bovendien vergde het snijden van een boek ook vele jaren werk. Omstreeks 1050 ontdekte men in China een manier van drukken met losse letters. Aanvankelijk gebruikte men daarvoor letters van aardewerk, maar al spoedig werkte men met letters van tin. De Chinese uitvinding was al omstreeks 1250 tot in Egypte doorgedrongen. Of dit de basis is geweest voor de Europese uitvinding, is niet bekend. Rond 1450 werden op verscheidene plaatsen in Europa pogingen ondernomen om een bruikbare techniek te ontwikkelen voor het drukken van boeken. Het Chinese boekblok werd opnieuw uitgevonden, evenals het drukken met losse letters. Het Westerse alfabet leende zich bijzonder goed voor die techniek en er kwam dan ook een snelle ontwikkeling tot stand. Al eeuwenlang wordt er fel gediscussieerd over de vraag of de Nederlander Laurens Janszoon Coster of de Duitser Johann Gutenberg de Europese herontdekker is geweest. Internationaal gezien wint Gutenberg het, hoewel de Nederlandse versie hier zeker niet onvermeld mag blijven.
Omstreeks 1400 werd in Mainz Johannes Schöfer geboren. Hij werd lettersnijder. Enige tijd was hij ook in dienst bij de Haarlemse drukker Laurens Janszoon Coster. Coster zocht al enige tijd naar een goede oplossing om sneller letters te kunnen maken waarmee gedrukt kon worden. Ten slotte kwam hij op het idee om in een stukje koper een letter te graveren en daar met lood een afdruk van te maken. Met die loden letter kon dan gedrukt worden. Afgesleten letters konden snel vervangen worden door een nieuw gegoten letter.
Coster kreeg niet de kans zijn ding zelf als eerste in de praktijk toe te passen. Zijn leerling Schöfer ging er niet alleen met zijn dochter, ook met zijn idee van de uitvinding vandoor. In de Duitse stad Gutenberg werkte Schöfer, die later door iedereen ‘Gutenberg’ werd genoemd zijn gestolen uitvinding uit. Rond 1450 stichtte hij de eerste lettergieterij.
De snelle verspreiding van de uitvinding van de boekdrukkunst is vooral te danken aan het feit dat Duitse drukkers door Europa gingen reizen. Ze brachten enige tijd door in verschillende plaatsen en gaven zo hun kennis door. De uitvinding van het lettergieten en de enorme vlucht die de boekdrukkunst daardoor kon nemen, is uitermate belangrijk geweest. Bijbelse en wetenschappelijke werken konden veel gemakkelijker vermenigvuldigd worden dan vroeger. Het boek bereikte daardoor ook de eenvoudige burger, die de moeite nam het lezen te leren. Het volk begon zich te ontwikkelen, waardoor de Europese samenleving zich drastisch zou wijzigen.
Ontwikkeling van de scheepvaart
De soorten schepen die de Middellandse Zee en later ook de Noordzee en Oostzee bevoeren, werden steeds handzamer en sneller. Een
belangrijke bijdrage daartoe leverden de zeerovers, die om snel weg te kunnen snellere schepen nodig hadden. Het gevolg daarvan was weer, dat de reders hun schepen ook steeds sneller lieten maken. De Vikingen met hun rappe, ranke vaartuigen, hadden ook een belangrijk aandeel in de ontwikkeling van de scheepvaart. De zeelieden durfden zich steeds verder op zee te wagen. En met behulp van eenvoudige middelen konden ze zich al redelijk goed oriënteren. De uitvinding van het kompas maakte het mogelijk de koers nog beter te bepalen. De eerste kompassen waren zeer eenvoudig. Met behulp van een stuk magnetisch steen moesten de kompasnaalden steeds opnieuw magnetisch worden gemaakt. Pas omstreeks 1492, toen Columbus Amerika ontdekte, werd het kompas sterk verbeterd. Men kon erop rekenen, dat het noorden werkelijk door het kompas werd aangegeven.
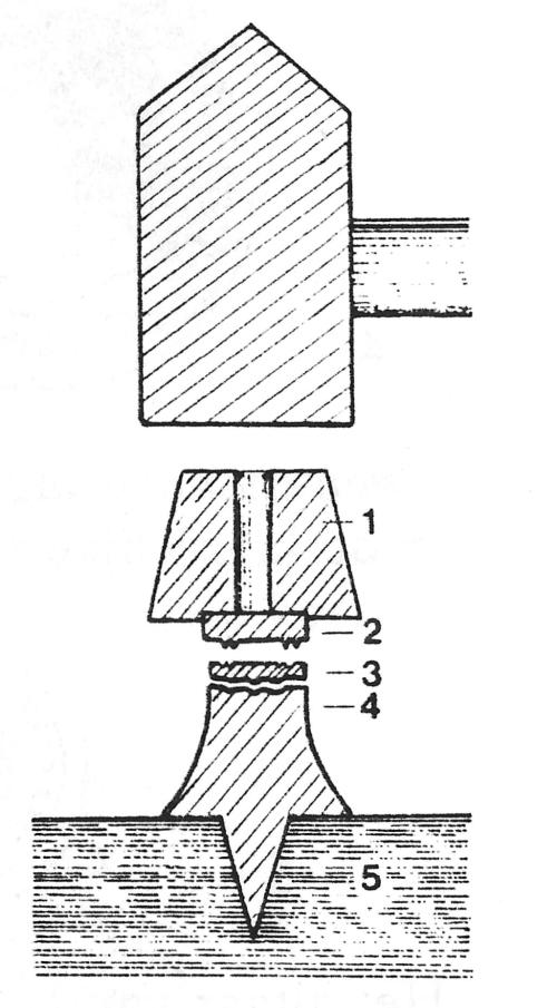
De eerste molens
Naar alle waarschijnlijkheid werden omstreeks 1150 de eerste windmolens gebouwd. Het toen gebouwde type noemt men een staakmolen of standaardmolen. Ook in rivieren werden molens gebouwd, aangedreven door de waterstroom. Molens werden aanvankelijk alleen gebruikt voor het malen van graan.
Pas na 1300 begon men de kracht van de wind te gebruiken voor het wegpompen van overtollig water. Na 1400 verschenen de eerste fabrieksmolens voor het zagen van hout. De ontdekking en het gebruik van wind en waterkracht als aandrijving voor machines leverde een belangrijke bijdrage tot de ontwikkeling van bepaalde vormen van industrie.

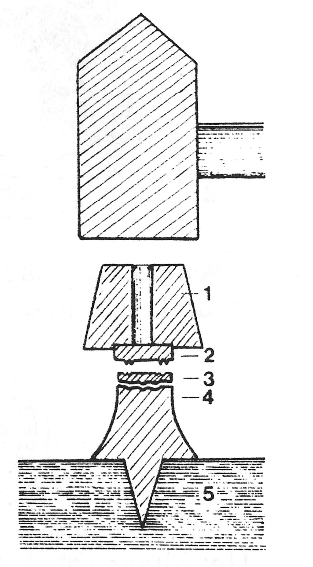
Naar alle waarschijnlijkheid werden de eerste windmolens gebouwd omstreeks 1150. Links een waterrad. Rechts een windmolen.
De textielnijverheid
De techniek van het weven van stoffen stond in de middeleeuwen op een hoog peil. Net als de moderne mechanische weefgetouwen, waren ook de middeleeuwse handweefgetouwen gebouwd volgens systemen die al bekend waren bij de Assyriërs en de Babyloniërs in de oudheid. Aanvankelijk werden stoffen die men wilde verfraaien met de hand geborduurd. De oudste geborduurde lappen stof dateren uit de zesde eeuw. Ze bevinden zich in de tombe van St. Cesarius te Arles in Frankrijk. Later begon men de stoffen te bedrukken. Vooral in het Rijnland stond de textieldrukkunst op een kunstzinnig hoog peil. Men drukte zelfs goud en zilver op stoffen. De adel kocht dergelijke stoffen niet alleen om er kleding van te laten maken, maar ook voor gordijnen en wandkleden.
Tegen 1500 raakte het bedrukken van stoffen in verval. Duurdere zijden stoffen als brokaat en damast, door Venetiaanse kooplieden ingevoerd, kwamen toen in de mode. Later werd de zijderups ook in het Middellandse Zeegebied geteeld en kwam de Italiaanse zijde-industrie op gang. Vooral in Vlaanderen bestond een bloeiende lakennijverheid. De wol voor de lakense stoffen werd uit Engeland ingevoerd. In de jaren 1400-1500 was de wandtapijtnijverheid van Vlaanderen een grote welvaartsbron voor het graafschap.
Primitieve landbouw
In het begin van de middeleeuwen stond de landbouw op een laag tot zeer laag peil. Bossen werden afgebrand, het land werd enigszins omgewoeld en er werd gezaaid en geoogst tot de grond was uitgeput. Van bemesting hadden de boeren nog nooit gehoord. Dat was ook niet mogelijk, want vrijwel geen boer bezat meer dan één magere koe om van de melk kaas te kunnen maken en een paar schapen om wol te kunnen spinnen.
Pas in de tijd van keizer Karel de Grote werd begonnen met het verbeteren van de landbouw.
Het drieslagstelsel
In de jaren 700-900 werd het drieslagstelsel ingevoerd. Het was een manier om met eenvoudige middelen meer uit de grond te halen, zonder de grond al te veel uit te putten. Het vee liep in het ‘braakjaar’ op het braakland. Zo werd het land bemest en leverde het een jaar later weer een goede oogst op. De mogelijkheid om meer vee te houden, zoals paarden en ossen, leidde ertoe dat men deze dieren ging gebruiken bij het ploegen. Toen de boeren nog geen werkvee hadden, trokken ze zelf de ploeg. Gewoonlijk ploegden ze met een soort houten wig die schuin in de grond stak, of ze woelden de grond om met de hak, een soort schep die als een houweel werd gehanteerd. Het spreekt vanzelf, dat het ploegen met die eenvoudige middelen de grond maar zeer oppervlakkig omwoelde. De vruchtbare klei onder het oppervlak kwam nauwelijks naar boven. Toen de boeren meer paarden en ossen konden houden, werden die voor steeds zwaardere ploegen gespannen, die de grond steeds verder openscheurden. De vruchtbare klei kwam dan naar boven en de oogsten werden rijker.

Deze afbeelding laat het verschil zien tussen het ‘oude’ en het ‘nieuwe’ trekspan dat omstreeks de 10e eeuw in gebruik werd genomen. Bij het oude span werd het paard tijdens het trekken de luchtwegen afgesneden, waardoor het dier gevaar liep te stikken.
Beter gereedschap
Naarmate de middeleeuwen vorderden, begonnen de boeren de
mogelijkheden van hun trekdieren steeds beter te benutten. Ze lieten ploegen smeden van ijzer en voorzagen die van wielen. Daarmee bereikten ze dat het ploegijzer steeds tot op dezelfde diepte sneed. De paarden en ossen, die tot dan toe hun werk op ‘blote voeten’ hadden gedaan, wat vaak tot verwondingen leidde, werden beslagen met hoefijzers. Het eerste primitieve trekspan voor ossen en paarden bestond uit een eenvoudige lus, die de beesten om de hals werd gehangen. Bij het trekken sneden de dieren zich daarbij vaak hun luchtwegen af. Erg hard konden ze dan niet meer trekken. De uitvinding van een beter trekspan, dat tegen de schouders van de trekdieren rustte, betekende een aanmerkelijke verbetering.
DE MEDISCHE WETENSCHAP
De vier lichaamsvochten
Het geneeskundig denken tijdens de middeleeuwen werd beheerst door de veronderstelling, dat het menselijk lichaam in stand werd gehouden door lichaamsvochten. Men onderscheidde vier lichaamsvochten: bloed, slijm, gele gal en zwarte gal. In ieder lichaam, zo dacht men, hoorden die vier vochten in een bepaalde verhouding voor te komen. Alle ziekten werden toegeschreven aan een verstoring van de verhouding tussen de verschillende lichaamsvochten. In de ogen van de primitieve geneesheren was de enige manier om het evenwicht in de lichaamsvochten bij een ziek mens te herstellen, het aftappen van bloed. Dat aftappen van bloed werd ‘aderlaten’ genoemd. Aderlaten werd in de middeleeuwen op grote schaal toegepast bij alle mogelijke ziekten.
De barbier
De middeleeuwse kapper werd ‘barbier’ genoemd, naar het Italiaanse woord ‘barba’ dat ‘baard’ betekent. Maar behalve baard- en haarsnijder, was de barbier ook tandarts en geneesheer. Veel barbiers gaven zichzelf de fraaie titel van ‘chirurgijn’. Tot de belangrijkste taken van de barbier behoorde het aderlaten bij zieke mensen. Dat gebeurde in veel gevallen door op een ader bloedzuigers te plaatsen. Die zogen zich door de huid heen vol met bloed. Dikwijls ook opende de barbier een bloedvat en ving hij het bloed op in een kommetje. Voor die ‘operatie’ hanteerde de barbier zeer eenvoudige instrumenten. Een goede chirurgijn gebruikte een speciaal vlijmscherp aderlaatmesje. Een alledaagse barbier daarentegen nam gewoon zijn scheermes… Het uithangbord van de barbier was een grote witte stok, waaromheen zich een rode band slingerde, als vloeiend bloed. De barbiers traden ook op als kiezen-en tandentrekkers. Op vele kermissen stond zo’n kiezentrekker, die voor weinig geld het volk van kiespijn wilde verlossen. Voor de patiënt was het kiezentrekken een zeer pijnlijke ingreep, die niet alleen zonder verdoving, maar tot in de late
middeleeuwen zelfs zonder tang geschiedde. De barbier gebruikte een ijzeren wig, waarmee hij de tand of kies uit de kaak van zijn slachtoffer wrikte. Wie bang was voor pijn, dronk eerst een paar pinten brandewijn…
Geen hygiëne
De middeleeuwer wist niets over bacteriën of virussen. En om
persoonlijke hygiëne bekommerde hij zich niet. Voor mensen die leden aan duidelijk herkenbare ernstige ziekten als melaatsheid, pokken en pest, sloot men de stadspoorten. Men wist dat een ziek mens een gezond mens kon aansteken. Alleen hoe dat gebeurde, wist men niet. Melaatsen hadden de plicht, hun komst van verre aan te kondigen door een bel te luiden…
Het reinigen van het eigen lichaam werd als ongezond beschouwd. Men leefde zonder problemen tussen rottend afval, dat alleen als een bezwaar werd ondervonden als het te erg ging stinken. Men dronk alles wat op water leek en niet te erg stonk. Het drinkwater moet een grote bron van besmetting zijn geweest. Ook de barbier kon zich, niet gehinderd door enige kennis omtrent ziektekiemen, helemaal niet druk maken over hygiëne. Ontsteking van wonden na een ingreep door de barbier was eerder regel dan uitzondering.
De chirurgijns
Van iets beter gehalte waren de afgestudeerde chirurgijns. Hun
voornaamste taak bestond uit het oplappen van gewonden na de jacht of een oorlog. Om gebroken armen en benen te zetten, werd soms operatief ingegrepen. Maar omdat men niets afwist van hygiëne, overleed de patiënt vaak aan hevige koortsaanvallen.
De Duitse keizer Frederik II (1194-1250) stichtte op Sicilië een
geneeskundige school. Daar liet hij bekende geleerden, waaronder Joden en Arabieren, lesgeven. De studie duurde jaren en de afgestudeerden mochten zich meester-geneesheer noemen. Er was ook een opleiding voor vroedvrouwen. Het spreekt bijna vanzelf, dat deze geneesheren en vroedvrouwen zich niet bezighielden met de kwalen van het gewone volk…
De Franse koningen Lodewijk de Heilige en Filips de Schone stichtten in hun land het ‘Collège Sant Côme’, een soort medische universiteit. De afgestudeerden vormden een broederschap van beëdigde heelmeesters, die in de ontwikkeling van de chirurgie een belangrijke rol hebben gespeeld.
Een conflict tussen de afgestudeerde heelmeesters (chirurgijnen) en de minder bekwame barbiers bleef niet uit. In 1292 telde Parijs meer dan 200 barbiers, die waren aangesloten in het bij de bevolking hoog aangeschreven barbiersgilde. Meer dan vier eeuwen moest het barbiersgilde zich verdedigen tegen de geschoolde chirurgijnen. Tot 1700 konden de Parijse barbiers zich ongestoord wijden aan het aderlaten van zieken en het trekken van kiezen.
De bronzen afkoophand
Sommige misdrijven, zoals diefstal, konden worden bestraft met het afhakken van een hand. Maar de veroordeelde kon die straf in sommige gevallen afkopen, door een bronzen hand bij de gerechtsdienaren in te leveren. Deze werd dan voorzien van de naam van de gestrafte en tot diens schande aan de muur van het stadhuis bevestigd. In het stadhuis van het Zeeuwse Veere kan men zo’n afkoophand bezichtigen.
De gildebeker
In het gildehuis van ieder gilde werden de namen van alle gildebroeders vermeld op grote perkamenten oorkonden of metalen platen. Maar dat was niet de enige plaats waar alle namen prijkten. De trots van elke gildebroederschap was de gildebeker! Meestal was die beker van zilver, soms ook van tin. De gildebeker (soms ook een kan) was vaak wel 40 cm hoog! Alle namen van de leden werden erin gegraveerd. Tijdens vergaderingen of feesten werd de kan geheel met wijn gevuld, waarna deze in de broederkring de ronde deed.
Meestermerken en keurmerken
Om de kwaliteit van producten te kunnen waarborgen, stelden de meeste gildekeuren verplicht, dat de meesters hun waren voorzagen van hun naam. Een ontevreden klant kon dan altijd bewijzen bij wie hij het product waarover hij klaagde had gekocht. De meeste meesters signeerden hun waren met hun initialen: de voorletters, gevolgd door de eerste letter van hun achternaam. Sommige meesters gebruikten ook wel een tekentje om hun werk te signeren. Meester Knol kon een getekend knolletje gebruiken, meester Vogel een klein vogeltje enz. Al snel gingen de gildemeesters en keurmeesters alle waren aan een controle onderwerpen, meestal op aandringen van het stadsbestuur. Op een goedgekeurd product werd dan het merk van de keurmeesters aangebracht, vaak het stadswapen.
.
Geschiedenis: alle artikelen
Vrijeschool in beeld: 6e klas geschiedenis
761-697
.
Vind-ik-leuk Aan het laden...